ThermoGrip® Machine Accessories: Measuring Adaptor for Length Presetting
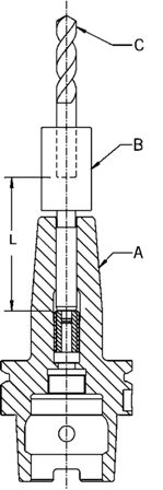
The ThermoGrip® measuring adaptor is the low cost entry in presetting and stands out due to its simple handling and versatility. The length of the tool holder assembly can be preset independently of the clamping device.
To add a part to your cart, click the

icon. To request information or a quote click View Cart.
Stock standard

,
Non-stock standard

,
Non-stock special