View Cart: 0
SEARCH
Products
ThermoGrip Tool Holding
ThermoGrip Machines
Standard Chucks
TSF Slim Chucks
TER collets
TSFV Extensions
ThermoGrip Accessories
Tapping
Quick Change Chucks
Quick Change Adapters
SCK Synchro Chucks
SCK Synchro Accessories
Attachments TA
STA Synchro Tap Adapter
Reaming
Drilling
SBK-SEK
Adapters
Chucks
Accessories
MQL
MQL Overview
WFLC-MQL
SCK-MQL
Ratchet Program
Ratchet Overview
Ratchet Type R/RR
Air Couplings
Air Couplings Overview
Air Pressure Valves & Guns
Specialty Tools
HFP Intelligent Tools
Engraving Chuck
Stamping Chucks
Stud Driving Chucks
FormBore System Tools
CNC Tools
Collet Chuck Holders
Hi-Power Milling Chucks
Shell Mill Holders
Side Lock Holders
CNC Blank Bars
CNC Accessories
CNC Drill Chucks
Literature
About Us
Contact
(847) 734-9390
Request Info
[x]
Name
Phone
E-mail
Submit
Print page
ThermoGrip® Face Contact Chucks FCV-40
ThermoGrip® Face Contact Chucks FCV-40
To add a part to your cart, click the
icon. To request information or a quote click View Cart.
Stock standard
, Non-stock standard
, Non-stock special
Description
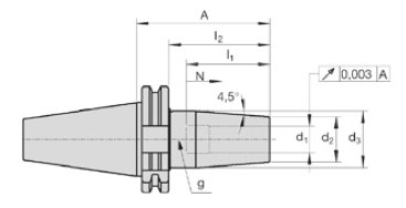
A
d1
d2
d3
g
l1
l2
N
HSS
Ident No
T0635-95/FCV40
90
1/4"
21
27
M5
36
71
10
yes
72.303.500.110
T0953-95/FCV40
90
3/8"
24
32
M8x1
42
71
10
yes
72.303.500.280
T1270-95/FCV40
90
1/2"
27
34
M10x1
47
71
10
yes
72.303.500.410
T1588-95/FCV40
90
5/8"
27
34
M12x1
50
71
10
yes
72.303.500.490
T1905-95/FCV40
90
3/4"
33
42
M16x1
52
71
10
yes
72.303.500.590
T2540-100/FCV40
100
1"
44
53
M16x1
62
81
10
yes
72.303.500.745
© 2026, ALL RIGHTS RESERVED. BILZ TOOL COMPANY, INC.
1140 NORTH MAIN STREET, LOMBARD, IL 60148
1-847-734-9390